Магазин запчастей для бытовой техники - Arlos
Москва
close
Выберите ваш регион
АбаканАлександровАльметьевскАнгарскАрзамасАрмавирАртемАрхангельскАстраханьАчинскБалаковоБалашихаБеларусьБелгородБердскБерезникиБийскБлаговещенскБратскБрянскВеликий НовгородВидноеВладивостокВладикавказВладимирВолгоградВолгодонскВолжскийВологдаВолховВоркутаВоронежВоскресенскВыборгГатчинаГеленджикГрозныйДедовскДербентДзержинскДзержинскийДимитровградДмитровДолгопрудныйДомодедовоДонецкЕвпаторияЕгорьевскЕкатеринбургЕлецЕссентукиЖелезногорскЖелезнодорожныйЖуковскийЗеленоградЗлатоустИвановоИвантеевкаИжевскИркутскИстраЙошкар-ОлаКазаньКалининградКалугаКаменск-УральскийКамышинКаспийскКемеровоКерчьКировКисловодскКлинКовровКоломнаКомсомольск-на-АмуреКопейскКоролёвКостромаКотельникиКрасногорскКраснодарКраснознаменскКрасноярскКурганКурскКызылЛенинск-КузнецкийЛипецкЛобняЛыткариноЛюберцыМагнитогорскМайкопМалаховкаМахачкалаМиассМоскваМурманскМуромМытищиНабережные ЧелныНазраньНальчикНаро-ФоминскНахабиноНаходкаНевинномысскНефтекамскНефтеюганскНижневартовскНижнекамскНижний НовгородНижний ТагилНовокузнецкНовокуйбышевскНовомосковскНовороссийскНовосибирскНовоуральскНовочебоксарскНовочеркасскНовошахтинскНовый УренгойНогинскНорильскНоябрьскОбнинскОдинцовоОктябрьскийОмскОрелОренбургОрехово-ЗуевоОрскПавловский ПосадПензаПервоуральскПермьПетрозаводскПетропавловск-КамчатскийПодольскПрокопьевскПсковПушкиноПятигорскРаменскоеРеутовРостов-на-ДонуРубцовскРыбинскРязаньСакиСалаватСамараСанкт-ПетербургСаранскСаратовСевастопольСеверодвинскСеверскСергиев ПосадСерпуховСимферопольСмоленскСосновый БорСочиСтавропольСтарый ОсколСтерлитамакСтупиноСургутСызраньСыктывкарТаганрогТамбовТверьТихвинТольяттиТомилиноТомскТроицкТулаТюменьУлан-УдэУльяновскУссурийскУсть-ИлимскУфаУхтаФеодосияФрязиноХабаровскХанты-МансийскХасавюртХимкиЧебоксарыЧелябинскЧереповецЧеркесскЧеховЧитаШахтыЩелковоЭлектростальЭлистаЭнгельсЮжно-СахалинскЯкутскЯлтаЯрославль
  • - бесплатно по РФ
    Автоперезвон. Работает по принципу: Вы позвонили на номер, мы сбрасываем звонок и перезваниваем через 3 секунды.
  • - по Москве
  • 8 (925) 663-83-63

Call-центр

пн-вс: 10:00-19:00

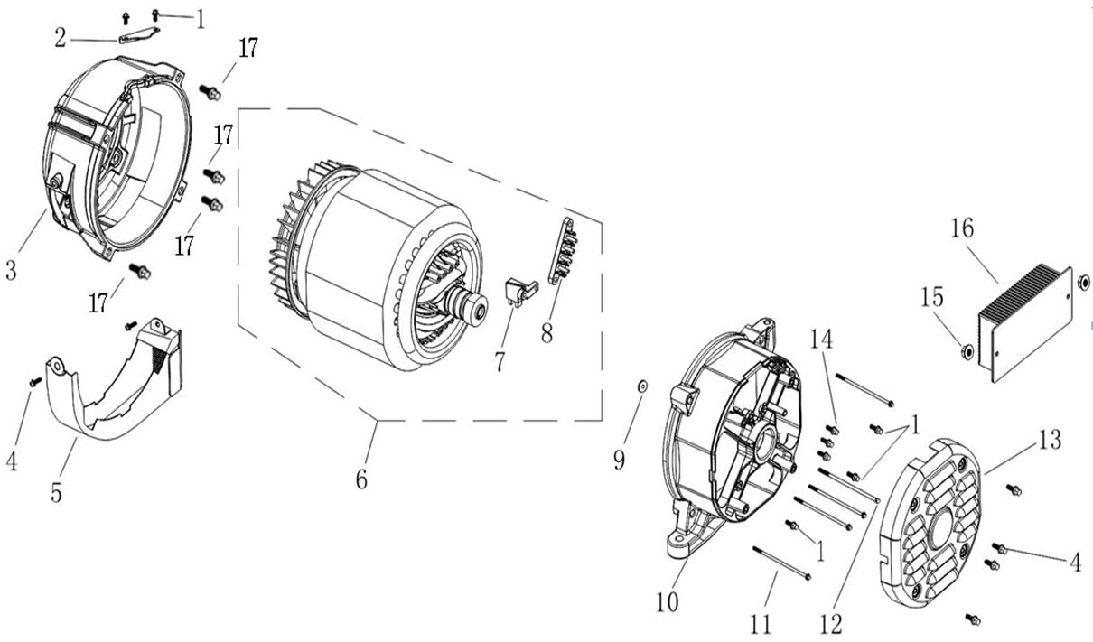
ЗАПЧАСТИ ДЛЯ ГЕНЕРАТОРА БЕНЗИНОВОГО ELITECH БЭС 12500ЕАМК (АЛЬТЕРНАТОР)

NАртикулНазваниеСрок отгрузкиЦенаКупить
1 0101.052800 Болт фланцевый M5х12 мм
2 0101.250940 Щиток ограничительный
3 0101.250950 Крышка альтернатора. 660050007-0001. БЭС 12500ЕМК.ЕТМК.ЕАМК.ЕТАМК 2.182 р.
4 0104.028300 Болт фланцевый M6
4 0400.191700 Болт фланцевый M6
4 0101.064000 Болт фланцевый M6х12 мм
5 0101.250960 Крышка защитная
6 0101.315570 Альтернатор в сборе 660080519-0001 БЭС12500ЕАМК 55.691 р.
7 0101.250980 Щетка альтернатора 660120006-0001 БЭС 12500 ЕМК, БЭС 12500 ЕАМК 240 р.
8 0101.250990 Колодка клеммная 660140006-0001 БЭС12500ЕТАМК 549 р.
9 0101.110400 Шайба плоская 10х30х4 мм
9 0200.046500 шайба, МБ 500Д50В,item 15 146 р.
9 0104.045300 Шайба плоская 10х30х4 мм
9 0101.142400 Шайба плоская
10 0101.315580 Корпус альтернатора. 660010012-0001. БЭС 12500ЕАМК.ЕТАМК.СМ.0101.251000 2.952 р.
11 0101.251010 Болт фланцевый M8х190 мм
12 0101.222200 Болт с головкой шестигранной M10х285 мм
13 0101.251020 Крышка задняя
14 0101.116400 Болт фланцевый M5х16 мм
14 0101.221100 Болт фланцевый M5х16 мм
14 0104.045800 Болт фланцевый M5х16 мм
14 0101.179200 Болт фланцевый M5х16 мм
14 0101.089300 Болт фланцевый M5х16 мм
15 0400.191200 Гайка фланцевая M6
15 0200.033700 Гайка фланцевая M6
15 0104.019800 Гайка фланцевая M6
15 0104.020800 Гайка фланцевая М6 380370066-0001 К4500L
16 0101.251030 АВР 10 кВт. 660150131. БЭС12500ЕМК БЭС12500ЕАМК 6.517 р.
17 0101.315730 Болт
Найдено товаров: 29
1
▲ Наверх
0
8 (925) 663-83-63

Call-центр

пн-вс: 10:00-19:00

НАЙТИ ПО МОДЕЛИ
Введите номер заказа
Введите номер своего заказа, что бы узнать его текущий статус.
Что бы получить доступ к расширенным функциям, пройдите не сложную регистрацию. Зарегистрироваться